文章来源:万象ai发布时间:2025-02-13 14:10:38
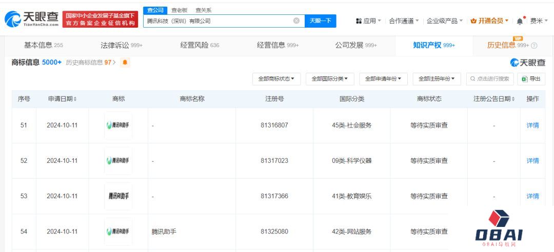
每经AI快讯,天眼查知识产权信息显示,近日,腾讯科技(深圳)有限公司申请注册多枚“腾讯AI助手”商标,国际分类包含社会服务、广告销售、网站服务等,当前商标状态均为等待实质审查。
据悉,今年5月,腾讯发布基于混元大模型的面向C端的ai助手“腾讯元宝”,其提供了AI搜索、AI总结、AI写作等核心能力。

相关攻略 更多
OpenAI底层AGI技术被曝光!前研究主管豪言:从此再无新范式
爆款AI视频越来越多,但本质我觉得跟炒股没区别。
Cursor+Claude的SVG图片生成功能,强到离谱,强烈建议写PPT没思路的时候买个会员
超20万人使用!最强开源浏览器Workflow插件【内置3300+模版】效率又起飞了~
营销获客AI公司Clay,花7年找到PMF后,快速实现10倍增长的秘密
5天连发5个王炸!MiniMax这波发布周把OpenAI都整懵了|MiniMax发布周回顾
AI应用行业全景洞察丨中国丨2025年5月丨万字诚作丨Xsignal
数字疗法AI医疗独角兽SwordHealth再融4000万,估值冲至40亿美元背后的战略棋局
最新资讯 更多
OpenAI底层AGI技术被曝光!前研究主管豪言:从此再无新范式
更新时间:2025-07-25
爆款AI视频越来越多,但本质我觉得跟炒股没区别。
更新时间:2025-07-25
Cursor+Claude的SVG图片生成功能,强到离谱,强烈建议写PPT没思路的时候买个会员
更新时间:2025-07-25
超20万人使用!最强开源浏览器Workflow插件【内置3300+模版】效率又起飞了~
更新时间:2025-07-25
营销获客AI公司Clay,花7年找到PMF后,快速实现10倍增长的秘密
更新时间:2025-07-25
5天连发5个王炸!MiniMax这波发布周把OpenAI都整懵了|MiniMax发布周回顾
更新时间:2025-07-25
AI应用行业全景洞察丨中国丨2025年5月丨万字诚作丨Xsignal
更新时间:2025-07-25
数字疗法AI医疗独角兽SwordHealth再融4000万,估值冲至40亿美元背后的战略棋局
更新时间:2025-07-25
宁德时代领投,「银河通用」完成超10亿元新一轮融资
更新时间:2025-07-25
【译】万字长文解读:生成式AI的21个设计模式、示例及应用策略
更新时间:2025-07-25